薩震高性能無油螺桿鼓風機,平均節能30%以上
文章出處:薩震壓縮機(上海)有限公司 發布日期:2020-4-27 15:24:14:


4 1 吸氣過程:隨著螺桿轉子的旋轉,螺槽容積逐漸增大,空氣被吸入鼓風機機內,直到吸氣口被封閉。
1 2外部壓縮過程:吸氣口已經封閉,排氣口尚未打開,由于螺旋設計,對向旋轉運動使得封閉的螺槽容積越來越小,產生內部壓縮,壓力上升。
2 3排氣過程:隨著轉子繼續旋轉,排氣口打開,已經被壓縮的空氣,排出主機。

4 1 吸氣過程:隨著羅茨鼓風機的旋轉,空氣被 吸入直到吸氣口被封閉。
1 2外部壓縮過程:可以分解為兩個過程,羅茨轉子繼續轉動,封閉空間的體積沒有變化,沒有內部壓縮;直到封閉空間突然暴露給排氣口,管網被壓迫使這部分空氣壓力上升。
2 3排氣過程:隨著羅茨轉子的繼續轉動,將已經升壓的空氣排出的管網。
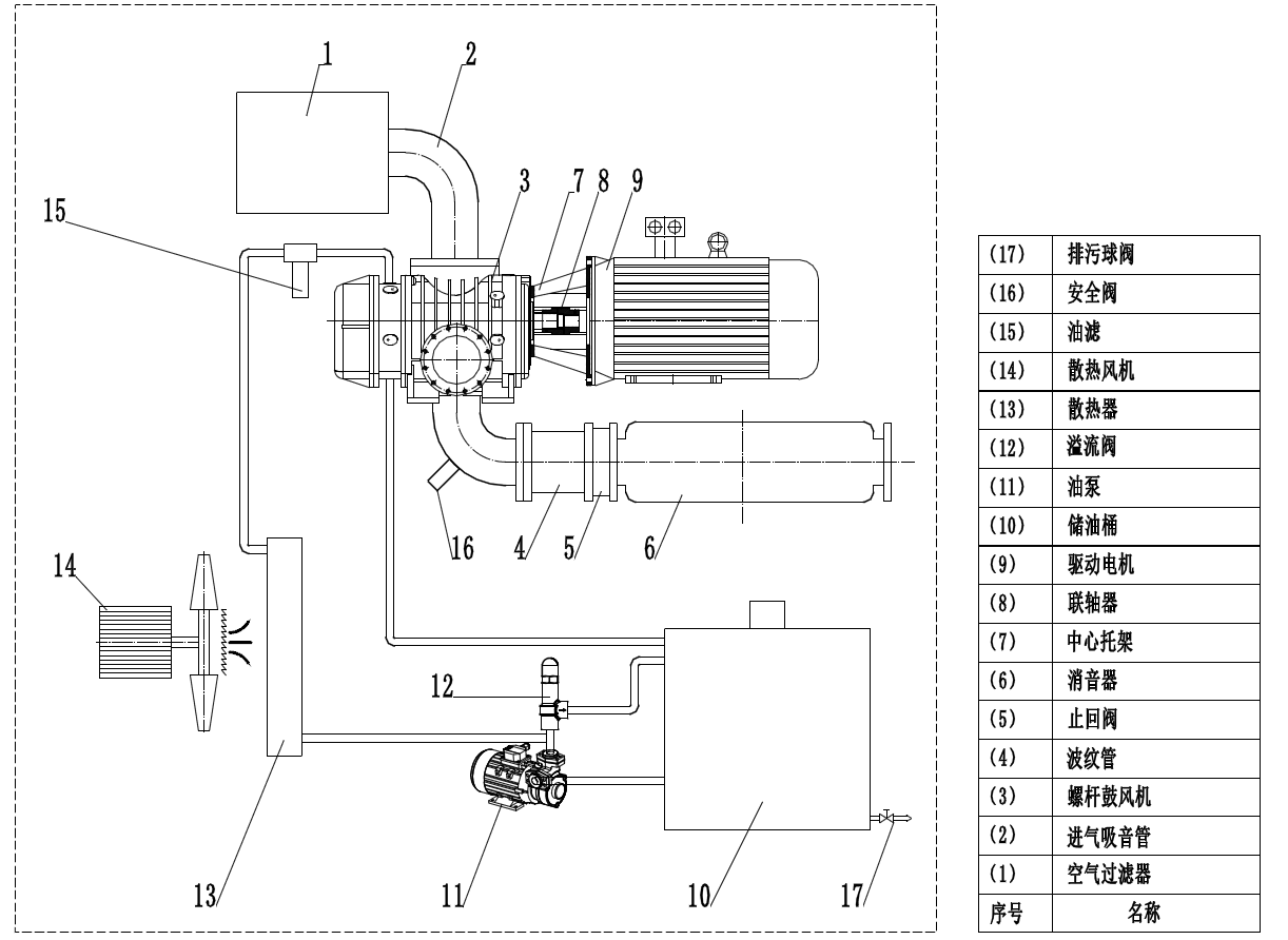
(薩震永磁變頻無油螺桿鼓風機流程圖)
如果有什么問題需要咨詢,請與我們聯系(13524038026)王經理,我們將為您解答無油螺桿鼓風機所需要的相關問題。
此文關鍵字:無油螺桿鼓風機
同類文章排行
- 未來節能大趨勢——節能空壓機智能...
- 解決空壓機進氣閥噴油問題,你只需...
- 螺桿式空壓機常見故障全解
- 無油空壓機保養技巧及注意事項
- 無油空壓機怎么保養才能延長壽命?
- 冬季螺桿空壓機保養指南!
- 干式無油空壓機的應用行業
- 國慶假期,節能空壓機保養你都做了...
- 無油空壓機型號怎么選?這篇文章告...
- 食品行業無油空壓機——薩震節能空...




